Safety-Type Wire Joints

- Material: Nylon 66, 94V-2.
- Usage: Peel the coat of wire, then insert to tube, use pincers to fix them.
- Feature: Nylon shell , long copper tube , easy to conduct electricity and hold wire tightly.
| Item No. | A(mm) | W | D(mm) | mm2 | Suitable Wires | |
| B(mm) | C(mm) | AWG | ||||
| CHS-Ф3 | 18 | 9 | 3.6 | 2.8 | 1.25 | 22-16 |
| CHS-Ф4 | 21 | 9.5 | 3.9 | 3 | 2 | 16-14 |
| CHS-Ф5 | 22.5 | 10.5 | 4.8 | 4 | 5.5 | 12-10 |
| CHS-Ф6 | 24 | 12 | 5.6 | 4.8 | 8 | 8 |
| CHS-Ф7 | 25.5 | 13 | 6.5 | 5.5 | 10 | 8-6 |
| CHS-Ф8 | 25.5 | 14 | 7.5 | 6 | 13 | 6 |
| CHS-Ф10 | 29.5 | 15.5 | 9.3 | 7.8 | 16 | 4 |
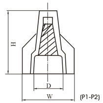
Screw Wire Connectors

- Material: Nylon 66, 94V-2. with spring inside.
- Usage: Peel wire coat, insert the wire in, then tighten.
| Item No. | H(mm) | W(mm) | D(mm) | Suitable Wires | Color |
| CHS-P71 | 15 | 8.5 | 6.5 | MIN#20x1+#22x1 MAX#16x2 |
Grey |
| CHS-P72 | 18 | 10 | 7.5 | MIN#20x3 MAX#16x3 |
Blue |
| CHS-P73 | 20 | 11.5 | 9.5 | MIN#20x3 MAX#16x3+#18x1 |
Orange |
| CHS-P74 | 23.5 | 13.5 | 10.8 | MIN#14x1+#18x1 MAX#14x4+#18x1 |
Yellow |
| CHS-P75 | 23.5 | 15.5 | 12.7 | MIN#14x2 MAX#10x2+#12x2 |
Red |
Double Wings Screw Wire Connectors

- Material: Nylon 66, 94V-2. with spring inside.
- Usage: Peel wire coat, insert the wire in, then tighten.
| Item No. | H(mm) | W(mm) | D(mm) | Suitable Wires | Color |
| CHS-P1 | 22.0 | 19.0 | 12.5 | MIN#18x2 MAX#12x3 |
Yellow |
| CHS-P2 | 28.0 | 22.0 | 15.0 | MIN#14x2 MAX#10x4 |
Red |



