Hazardous Area Heater
Heater Calculation
Hazardous area Heater CREx 020 Series

- Large convection surface
- Clip fixing
- Ready for use
- Maintenance free
Compact convection heater for use in areas with explosion hazard for prevention of formation of condensation, temperature fluctuations and for protection against frost in transmitter housings, switch cabinets and measuring equipment.
Technical Data
>> Download PDF (115KB)
| Explosion protection according to EN | LCIE (Laboratoire Central des Industries Electriques) |
| Conformity certificate | L.C.I.E. 01 ATEX 6073 - L.C.I.E. N°06 ATEX 08011 |
| Heating element | high performance cartridge |
| Heater body | aluminium profile, black anodised |
| Connection | Si HF-JZ 3 x 0.75mm² cable, length 1m |
| Connection PE | 4mm² |
| Mounting | clip for 35mm DIN rail, EN 50022 |
| Fitting position | vertical |
| Operating / Storage temperature | -20 to+40 °C (-4 to +104 °F) /-45 to +70 °C (-49 to +158 °F) |
| Protection type / Protection class | IP65 / I (earthed) |
| Art. No. | Operating voltage | Heating capacity | Ex protection type | Surface temperature | Length (L) | Weight (approx.) |
| 02010.0-00 | 230-240VAC | 50W | II 2 GD - EEx IIC T5 IP6x T100°C | 100°C | 150mm | 1.30kg |
| 02011.0-00 | 230-240VAC | 100W | II 2 GD - EEx IIC T4 IP6x T135°C | 135°C | 180mm | 1.50kg |
| 02010.0-01 | 110-120VAC | 50W | II 2 GD - EEx IIC T5 IP6x T100°C | 100°C | 150mm | 1.30kg |
| 02011.0-01 | 110-120VAC | 100W | II 2 GD - EEx IIC T4 IP6x T135°C | 135!C | 180mm | 1.50kg |
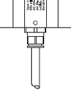
Technical drawing
![]() |
![]() |
![]() |
![]() |
![]() |
![]() |
![]() |
![]() |
![]() |
![]() |
![]() |
![]() |
![]() |
![]() |
![]() |
![]() |
![]() |
![]() |
![]() |
![]() |





















